Mazda Has Patented A Supercharged Two-Stroke Engine For Some Reason

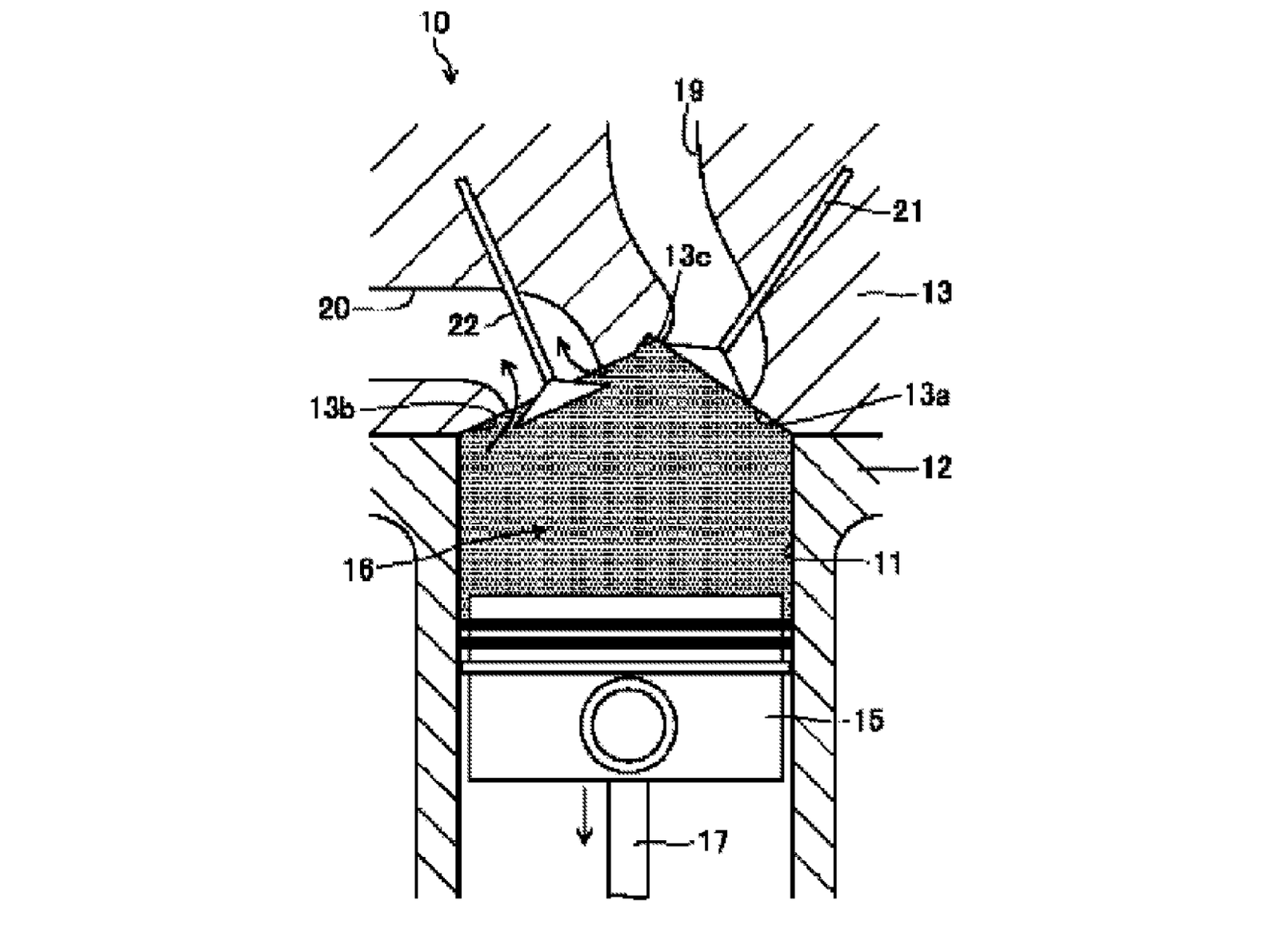
Only a few weeks ago we were talking about Mazda’s patents for a rear-wheel drive, hybrid rotary sports car. What we have for you today, though, is another level of patent weirdness entirely from the Japanese company. As spotted by a user on the Nissan Z forum, Mazda has filed a patent in the United States for a supercharged engine that appears to incorporate elements of its SkyActiv-X ‘Spark-Controlled Compression Ignition’ technology with a two-stroke combustion cycle. Yep, you heard that right.
In Mazda‘s words, its supercharger design would be capable of: “preventing occurrance of abnormal combustion under high load and improving fuel efficiency in the case where compression self-ignition is implemented under high load, and spark ignition combustion is implemented under high load.”

The setup described involves a Roots-style crankshaft-driven supercharger “in an intake passage connected to the intake port of the engine body”. The curious powerplant also features variable intake and exhaust valve timing.
If you have a lot of time on your hands and have a very good head for engineering, you might want to download and read the whole thing. There’s a lot of detail, but one thing you won’t learn through a peruse is what the hell the engine is for.

We can’t imagine Mazda is thinking about developing a motorcycle power plant, and in any case, entering the two-wheeled industry with two-stroke - a cycle only used by low-volume specialists like Langen - would be an odd move. And strange even for Mazda, which has a history of doing atypical things with engines.
A small and innovative two-stroke engine could be ideal for an electric car’s range extender, but Mazda already has that covered via a tiny rotary powerplant for the MX-30. Patents like this often amount to anything, but regardless, we’re intrigued. And a little confused.



Comments